中国分散式污水处理设备厂家污水处理全过程解决方案提供商

13915951254  

达泽设备深入应用于生活污水、医疗污水、垃圾处理领域

《医疗机构污染物处理指南》权威发布,达泽环保案例入选!

作者: 编辑: 来源: 发布日期: 2023.09.01
信息摘要:
《医疗机构污染物处理指南》近日发布,这是一本为医疗行业提供污染物处理指导的权威参考书。这本书由首都医科大学附属北京友谊医院主编,达泽环保也荣…

喜讯传来!《医疗机构污染物处理指南》近日发布,这是一本为医疗行业提供污染物处理指导的权威参考书。这本书由首都医科大学附属北京友谊医院主编,达泽环保也荣幸地参与了本书的编写工作,并以医疗废水处理领域的成功实践经验为这本指南提供了有力的支撑。

 《指南》解决了污染物处理处置系统建设的各种问题,可为医疗机构、医疗废物处理公司、政府监管机构以及相关从业人员提供全面指导及可行性建议。全书分为4个部分,包括医疗机构污水处理医疗机构废气处理医疗结构废物处置以及典型案例。达泽环保对于全书每个部分的编写都提供了科研、技术与实践等不同角度的内容支持,更是在典型案例部分,作为首个案例入选展示。

新书封面

入选《指南》的案例是达泽环保的南京医科大学附属逸夫医院污水处理站建设工程案例,该医院在运营中产生的污水包括病区医疗废水和办公区污水两大类,具体包括住院楼和门诊楼医疗废水、行政办公区域生活污水、食堂餐饮污水,以上各类污水均接入医院污水处理站进行处理。

DJI_0041

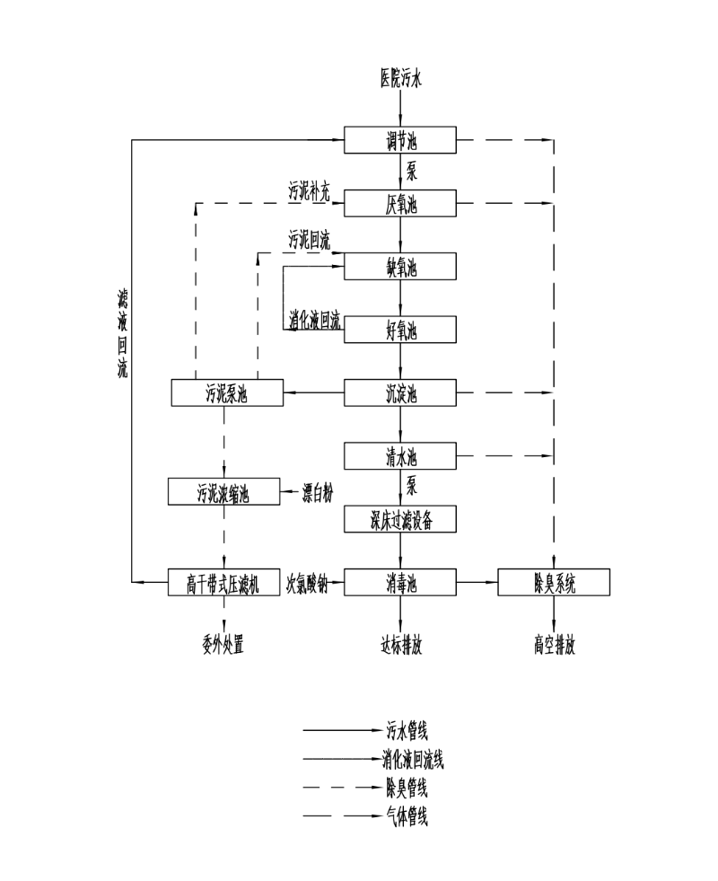
因为污水的日常量大、来源复杂、性质不同,达泽环保针对逸夫医院污水的特点和需求,提供了一整套定制化的解决方案。该污水处理站设计处理规模为1200t/d,设计出水标准优于国家标准《医疗机构水污染物排放标准》GB18466-2005中的预处理标准,污水达标后接管至园区污水处理厂。

逸夫医院工艺流程图

我们通过对污水处理站工艺段的设计和组合,有效地去除了污水中的有害物质,保证了出水的质量和环境的安全。整个项目处理工艺流程设计完善,做到了污水处理、污泥处理、废气处理全覆盖,充分落实了无害化处理原则。同时,我们还搭载了智慧水务平台,实现了设备的智能化管理和运维,提高了整个系统的运行效率和稳定性。

DJI_0026

值得一提的是,逸夫医院在2022年启用后,承担了新冠定点医疗机构的任务。针对疫情期间特殊的排放要求,我们依托污水站的处理能力,通过采取运行参数调整,加强污水监测频率、提高消毒剂用量等措施,保证了污水站在特殊排放限制要求下的稳定运行。

 

这个案例的成功不仅得益于达泽环保在医疗废水处理方面的丰富经验和专业知识,更得益于我们不断追求创新技术的精神。作为一家致力于为客户提供全面解决方案的企业,达泽环保始终以客户的需求为中心,不断推动环保技术的创新和应用。

DSC01991

达泽环保在医疗废水处理领域已经拥有众多成功案例,服务上百家医疗企业解决污水处理难题。我们深知医疗废水处理对于保障公众健康和环境安全的重要性,因此,我们将继续努力,为医疗行业提供更先进的技术和解决方案。我们相信,在达泽环保的努力下,医疗机构将能够更好地处理污染物,创造更健康、更美好的工作和生活环境。

 DSC01977

同时,让我们共同期待《医疗机构污染物处理指南》的发布能够为医疗行业的污废处理带来新的发展机遇和挑战。达泽环保将继续秉持着创新和卓越的理念,为实现清洁环境和可持续发展而努力。让我们携手共建一个更加美好的未来,为人类的健康和环境的可持续发展贡献力量!

【相关推荐】

达泽环保资讯中心

咨询热线

13915951254